Final visual and functional checks cover coatings and quantity. This step catches anomalies, guaranteeing batches more consistent than unchecked shipments for your project timelines.
HULK Metal stands out as a leading lifting eye anchor manufacturer, specializing in precast concrete lifting eye anchors that meet stringent CE certification with a 3 times safety factor. Our products ensure secure handling of heavy concrete elements during construction projects. Backed by years of expertise in metalworking, we deliver anchors crafted through advanced forging and surface treatment processes. Bulk buyers benefit from our end-to-end services, from custom design based on your drawings to efficient delivery. Choose HULK Metal for anchors that combine strength, durability, and compliance, making your precast operations smoother and safer.
1 Higher Standard Lifting Eye Anchor
2 Shorter Production Cycle
3 More Corrosion Resistant
4 More Optional Delivery Methods
5 Comprehensive After Service.
HULK Metal's precast concrete lifting eye anchors offer superior strength with CE certification and a 3 times safety factor. Ideal for bulk construction needs, they ensure safe, efficient lifting every time.
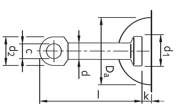
HULK Metal offers precast concrete lifting eye anchors in a range of sizes and load capacities to meet the needs of different types of projects. Material grade, usually high-strength steel like 20Mn2 or Q345, lengths between 50 and 300 mm, and safe working loads up to 32 tons are important considerations. Corrosion resistance is increased by surface treatments like electric galvanizing and hot dip. In demanding environments, these anchors perform better than standard options thanks to their threaded ends for secure embedding and eye diameters optimized for clutch compatibility.
| Name | Lifting Eye Anchor | |||
| Drawings | ||||
| Material | 20Mn2 / Q345D / CM490 / Stainless Steel / Customizable | |||
| Surface Treatment | Raw Black / Electro-galvanized / Hot-dip Galvanized | |||
| Safety Factor | ≥ 3 | |||
| Certification | ISO9001 / CE | |||
| SWL (tons) | CODE | LENGTH(mm) | D(mm) | WEIGHT(kg/pc) |
| 1.3 | HM-E-013050 | 50 | 10 | 0.055 |
| - | HM-E-013065 | 65 | 10 | 0.065 |
| - | HM-E-013120 | 120 | 10 | 0.1 |
| 2.5 | HM-E-025090 | 90 | 14 | 0.17 |
| - | HM-E-025120 | 120 | 14 | 0.21 |
| 5 | HM-E-050090 | 90 | 20 | 0.36 |
| - | HM-E-050120 | 120 | 20 | 0.43 |
| - | HM-E-050180 | 180 | 20 | 0.58 |
| 10 | HM-E-010115 | 115 | 28 | 0.81 |
| - | HM-E-010180 | 180 | 28 | 1.14 |
| 20 | HM-E-020250 | 250 | 38 | 3.28 |
| 32 | HM-E-032300 | 300 | 50 | 6.31 |
The lifting eye anchors are important parts of handling precast concrete. HULK Metal manufactures these anchors through precise forging and rigorous testing to guarantee their dependability. Learn how our anchors perform better than others in terms of strength and usability, from system composition to real-world applications. Our thorough production process demonstrates our dedication to quality, and our frequently asked questions (FAQs) assist large purchasers in making well-informed decisions for their building projects.
Lifting eye anchors are special metal fasteners that are built into precast concrete elements to make it easier and safer to lift and move them. These anchors are made of strong steel and have a round head on one end for attaching lifting clutches and an eye on the other end for connecting rebar to keep them securely in place in concrete. HULK Metal's precast concrete lifting eye anchors have CE certification and a safety factor of three, which makes them stronger against loads than many other options. They keep things from cracking during hoists by spreading the forces evenly. These anchors make it easier for contractors to work with beams, panels, or walls on big projects. Our anchors fit right into your workflow and can be customized based on your 2D drawings. This lowers risks and speeds up work on site.
These main parts are made of high-quality steel and are embedded directly into precast concrete for a strong hold. HULK Metal's versions have better tensile strength and exact dimensions, which makes them work better with different concrete mixes.
A quick-release part that connects to the anchor's eye. Our clutches lock securely, so you can attach and detach them faster than with regular hooks. This cuts down on downtime during lifts.
It makes a recess in the concrete around the eye anchor so that lifting lutch is easy to get to. HULK Metal's recess formers that make cleaner recesses, so clutches fit tightly without any extra play.
These are hooks, slings, or chains that are connected by the clutch. Our system can handle heavier loads with less stress because it has anchors that are made to distribute force evenly.
During manufacturing, lifting eye anchors are cast into precast concrete. After it has cured, the exposed spherical head makes it easy for a lifting clutch to attach securely. The anchor spreads the weight evenly through the concrete when it is lifted by cranes or other similar tools, which keeps it from breaking. HULK Metal's anchors excel with their forged construction, which handles dynamic forces better than cast alternatives. After the lift, the clutch releases quickly, making it possible to use it again. Our three-times safety factor makes this setup even more reliable against unexpected stresses, so precast elements like slabs or columns can safely move from the factory to the site.
Precast concrete lifting eye anchors are great for moving things like walls, beams, floors, and stairs when building. They are good for building bridges because they need to be placed very precisely. In factories, anchors help move big tanks or the bases of machines. People use them for foundation blocks or retaining walls in their homes. HULK Metal's anchors work better in saltwater when they are galvanized, which makes them stronger. They're necessary for modular building because they speed up assembly while keeping things safe.
HULK Metal's lifting eye anchors can hold more weight and last longer than non-certified options. They are CE-certified. Their coatings that resist corrosion last longer in bad weather. Installation is easier, which means less time spent on the job than with welded options. Flexible designs can fit different thicknesses of concrete, which gives you more options. When you order in bulk, you get tailored solutions that make your supply chain more efficient. In general, they lower long-term costs, cut risks, and increase productivity for precast operations.
Our sales and technical teams talk about what you need. We talk about the load needs, sizes, and uses of precast concrete lifting eye anchors so that they fit your project needs better.
We get high-strength steel from reliable suppliers in our supply chain. We test each batch very carefully for its composition and strength. This ensures that the materials are stronger than standard grades, which is what makes our lifting eye anchors last.
In our factories, we use precise saws to cut steel rods to the right lengths. This step makes sure that everything is the same, making the blanks cleaner and more accurate than doing it by hand. This sets up for the efficient forging of precast concrete lifting eye anchors.
An electromagnetic induction heater heats blanks to the right temperatures. This process makes metal softer, which lets it take on shapes that are stronger than those made when it is cold. This is important for the strength needed to lift eye anchors under heavy loads.
We use forging hammers and dies to shape the hot metal into anchors with eyes and feet. Open die forging makes the structure more dense and tough than cast parts, and then trimming gets rid of extra material for precise finishes.
After forging, anchors are checked for flaws like cracks using both visual and ultrasonic methods. This early detection makes sure that pieces are stronger than those that haven't been checked, which keeps precast concrete lifting eye anchors up to high standards.
Grinding or machining smooths out the edges. This makes surfaces smoother than raw forged states, which makes them fit better in concrete and makes it safer and more reliable to lift things.
Anchors get thicker coatings by being hot-dip galvanized in special factories. This protects better against rust than regular paints, which makes precast concrete last longer when used outside.
Final checks make sure the dimensions, coatings, and strength are all correct. For your bulk needs, our team uses advanced tools to make sure that anchors meet or exceed requirements, so our products are more consistent than those of our competitors.
Our packaging factories make strong crates for our products, and you can choose how you want them packed. Our logistics team handles shipping in-house and finds faster and cheaper routes based on where you are.
If there are quality problems, our after-sales team will quickly fix them, such as by sending you a new one. We offer ongoing technical support, which makes your experience better than with suppliers who don't offer full follow-up.
A: 20Mn2 high-strength steel, forged for better durability and load handling in precast concrete.
A: Yes, we do focus on bulk buyers.
A: It gives you more room to work with in case of overloads, which makes lifts safer than standard 2 times factors.
A: Yes, you can choose hot-dip or electro-galvanizing to make your metal more resistant to rusting in your environment.
A: About a month. Shorter cycles thanks to personalized plans; our experienced teams will get your work done faster.
A: Yes, fully compliant, which means they meet higher standards than products that aren't certified for use around the world.
A: Precast walls, beams, and panels; better performance in construction and industrial hoists.
A: Our freight team can use a number of different methods to get your packages to you quickly and cheaply.
A: Solutions for quality issues and advice to make your buying process easier.
At HULK Metal, quality control for precast concrete lifting eye anchors involves multi-stage inspections using advanced equipment in our QC centers. From raw materials to final shipment, we ensure every anchor meets ISO9001 standards, achieving pass rates higher than industry averages. Dimensional accuracy, tensile strength, and quantity verification prevent defects, making products more reliable for bulk construction. Our thorough approach minimizes risks, supporting safer lifts.
Final visual and functional checks cover coatings and quantity. This step catches anomalies, guaranteeing batches more consistent than unchecked shipments for your project timelines.
Pull tests on universal machines confirm load capacities can reach three times the safety factor. Results confirm anchors withstand heavier forces than required, enhancing overall precast handling security.
Using calipers and CMM machines, we measure lengths and eye diameters. This ensures anchors fit precast concrete better than loose tolerances, reducing installation issues.
Automated counters and manual verification ensure exact order fulfillment. We deliver fuller lots compared to error-prone methods, supporting bulk buyers' inventory needs accurately.
HULK Metal's factories for making lifting eye anchors do forging, galvanizing, and quality control all in one place. These sites have modern machines and skilled workers that speed up lifting eye anchors and to higher standards than older setups. Our supply chain includes partners for raw materials and logistics, which makes it easy to make things in bulk. See how our factories make precast concrete solutions with the highest level of efficiency.
We shape steel into strong lifting eye anchors at our forging factories using forging hammer machines and open dies. When heated to exact temperatures, materials form denser structures that are stronger than cast ones. These factories can speed up batches because they follow ISO9001 standards and have more efficient workflows. Integrated testing stations find problems early, making sure that every precast concrete lifting eye anchor meets or exceeds load expectations for building reliability.
Professional galvanizing factories use hot-dip or electro galvanization on lifting eye anchors to make layers that are thicker and even more than basic treatments. Zinc baths are kept in excellent condition so that they stick better and don't rust as easily in wet places. We check the quality of our chosen partners to make sure they can meet your needs. This process makes anchors last longer, which makes them ideal for outdoor precast use. The bulk runs process works well, and inspections make sure that everything is covered before packaging.
QC centers at HULK Metal have high-tech tools like tensile testers and spectrometers that make sure the lifting eye anchors are in excellent shape. Teams check raw materials, items in progress, and finished products and use data-driven methods to get higher pass rates. Dimensional scans and load simulations show that performance is better than what is required. This all-around method, from ordering to shipping, helps bulk orders with fewer problems. Our centers make sure that precast concrete lifting eye anchors are ready for tough jobs when they get to you.
For the best quality and service, pick HULK Metal's precast concrete lifting eye anchors. Because they have CE certification, advanced forging, and treatments that make them resistant to corrosion, our products are stronger and last longer than others. Buying in bulk is easier with shorter cycles, more delivery options, and full support. Our ISO9001 processes and expert teams make sure that everything runs smoothly, which makes your projects safer and more efficient. Call us to find out how HULK can help you with lifting eye anchors.
You will get the lifting eye anchor with higher standard certification.HULK has advanced production equipment and an experienced production team and will produce in strict accordance with ISO9001. We will strictly ask your requirements to inspect the product. Our professional quality inspection team will carry out all-round inspections of raw materials, semi-finished products, finished products, and before shipment. Your order pass rate can exceed 98%.
You will get the lifting eye anchor with a shorter production cycle. HULK has a professional technical team. They can shorten your production cycle as much as possible on the premise of ensuring the quality of your products according to your product drawings and requirements. We will customize a solution for you. You can grasp the production dynamics of the order through the solutions, pictures, videos, or video calls we provide.
You will get the lifting eye anchor with more corrosion resistance. HULK has more than a dozen factories that can provide you with more comprehensive surface treatment services. They are all selected by us after various comparisons and assessments and provide thicker, more uniform, and more wear-resistant hot-dip galvanizing or electro-galvanizing. Even if your product is not surface treated, we will still carry out anti-corrosion treatment, which is convenient for you to store and use better
You can get the lifting eye anchor with shorter delivery cycle. HULK has a professional freight consulting team that can provide you with more comprehensive and economical freight routes according to your country and region. You can choose from more diverse delivery methods. We have a warehouse center, your goods can be temporarily stored in HULK, and then the delivery cycle and the number of single shipments are determined according to the stock situation.
You can enjoy the comprehensive after-service when buying HULK products. HULK will provide you with a more comprehensive production service. At HULK, you can get various support such as production, technical consultation, design, quality inspection, freight consultation, and other services. At HULK, your purchasing process will be more simple.
Our articles on lifting eye anchors will keep you up to date on everything from installation tips to new materials for precast concrete. These articles discuss the best ways to make hoists safer, compare forging and casting, and give tips on how to make things more resistant to corrosion. Contractors and engineers will find them useful because they give practical advice on how to improve your business. Look for detailed guides that help you choose the right anchors so that your builds work better.
HULK Metal has a wide range of precast concrete accessories that go well with your lifting eye anchors. These include swift lift clutches, recess formers, lifting sockets, and magnetic fixers. These things, like our threaded inserts or spread anchors, make connections that are stronger than regular fittings. cast in loops and wave tail anchors are two types of bulk options that can be used in walls or slabs for different purposes. Each accessory goes through a lot of testing to make sure it works better and lasts longer in construction workflows.
Precast concrete lifting anchors are accessories designed specifically for the lifting of precast concrete elements. It includes lifting pin anchors (as know as dog bone anchors, spherical head lifting anchors), double head lifting anchors, utility anchors, etc. It needs to be embedded in precast concrete elements, fixed with a recess former, and a recess is created in the fixed position to accommodate the lifting clutch. They can be used in many elements such as: concrete trenches, culverts, stairs, pipes, panels, etc.
Lifting & Fixing Sockets, also commonly called Lifting & Fixing Inserts, are accessories designed for the lifting and anchoring of precast concrete elements. They are pre-buried in specific locations in the concrete to provide lifting points or connection holes for lifting or connecting other elements. With the development of the quick-install concrete industry, many types have been derived. It generally consists of two parts: a sleeve part and a stress transfer part. Depending on the different stress transfer parts, dozens of products can be derived.
Precast concrete spread anchors are made of high-performance alloy steel plates and are designed to be embedded in precast concrete elements to provide accessories for lifting points. Its international standard is CE certification. It needs to undergo strict tensile performance sampling inspection—using a tensile force of 3 times or even higher safety factor until it is broken. There are many types of it, and when using it, you need to consider the shape, thickness, lifting point location, weight and other factors of the precast concrete elements.
HULK Metal has been engaged in the production and sales of precast concrete lifting clutch since 2006, and has accumulated rich experience. We have integrated a complete supply chain and formed a professional team to provide better products and services. Our lifting clutch has passed the CE certification and can pass the destructive test with a 5-fold safety factor. Here you can learn about our product range, production capacity, and service capabilities.
HULK Metal offers a wide range of G60, G70, and G80 strength lifting hooks with a well-established supply chain. We have an advanced forging factory and integrated assembly line production. The quality of lifting hooks will be more guaranteed, and we can provide electro-galvanizing, hot-dip galvanizing, and powder coating—three surface treatments. We strictly implement ISO 9001 standard management to provide you with higher quality products and services. You can contact us at any time to visit the factory to understand our production capacity and service capabilities, and then hand over the order to us after you are satisfied.
Recess formers are used to place lifting anchors, spread anchors, and other accessories that need to be pre-buried in precast concrete elements. The recess they leave is for the lifting clutch to connect with lifting anchors or spread anchors. We offer a full range of standard recess formers and OEM services for special requirements.
Precast concrete magnets are one of HULK Metal's main products. They are recognized by customers for their high quality and reasonable price. Precast concrete magnets use high-performance and durable NdFeB alloy magnets. Advanced technology effectively improves production efficiency and reduces costs while ensuring its quality. We provide quality assurance services. You can purchase them with confidence.
HULK Metal also specializes in OEM services for cast-in-channel, T-bolts, wire rope boxes, stone support brackets, and other accessories. Cast in channel can be made of cold-rolled steel, hot-rolled steel, and stainless steel. T bolts are made of carbon steel, alloy steel, and stainless steel. Our wire rope box only has one wire rope, and stone support brackets only accept OEM services. We will develop a perfect solution according to your requirements to ensure that the delivery time, quality, and price can meet your requirements.
5.0 Ton Lifting Eye Anchors from HULK Metal are engineered for safe and efficient precast concrete lifting applications. Manufactured under ISO 9001 management and CE certification standards, they ensure reliable performance with a safety factor of ≥3.
2.5 Ton Lifting Eye Anchors from HULK Metal are designed for safe and efficient precast concrete lifting applications. Produced under ISO 9001 management with CE certification, they ensure consistent load performance and reliable embedding strength.
1.3 Ton Lifting Eye Anchors are designed for safe and efficient lifting of precast concrete elements. Manufactured with high-strength materials and CE certification, these anchors undergo rigorous testing to ensure durability and reliability.
HULK Metal provides CE-certified 32.0 Ton Lifting Anchors, manufactured with high-strength alloy steel and tested with a 3-times safety factor. This page details their structure, working principle, surface treatments, key parameters, applications, cost calculation, quality control, and supplier advantages.
HULK Metal’s 20.0 Ton Lifting Anchors provide safe, reliable, and CE-certified lifting solutions for precast concrete projects. Manufactured with high-performance alloy steel, precise forging, and strict quality control, these anchors ensure optimal load-bearing capacity and durability.
15.0 Ton Lifting Anchors are designed for heavy precast concrete elements, offering reliable lifting performance with consistent safety. HULK Metal combines forging, machining, and strict inspection to ensure stable quality.
This page presents a complete overview of 10.0-ton lifting anchors, including structure, working principle, surface treatment, key parameters, applications, manufacturing process, and cost factors.
HULK Metal’s 7.5-ton lifting anchors are designed for high safety and consistent performance in precast concrete lifting. Manufactured with premium alloy steel and tested with a three-times safety factor, they ensure durability and reliability.
HULK Metal manufactures CE-certified 5.0-ton lifting anchors with ISO 9001 management, ensuring high safety, durability, and precise dimensions. From forging to surface treatment and rigorous quality inspection, every anchor meets strict standards.
HULK Metal’s 4.0 Ton Lifting Anchors combine superior strength, precision manufacturing, and CE certification to ensure safe handling of precast concrete elements. With integrated production from forging to surface treatment, strict ISO 9001 quality control, and comprehensive technical support, clients benefit from faster delivery, cost efficiency, and reliable performance.
This page presents a complete overview of 2.5 ton lifting anchors, including structure, working principles, applications, and key parameters. It also explains production processes, quality control methods, and cost factors.
HULK Metal’s 1.3-ton lifting anchors provide safe, reliable, and CE-certified lifting solutions for precast concrete projects. Manufactured with high-performance alloy steel, precise forging, and strict quality control, these anchors ensure optimal load-bearing capacity and durability.
HULK Metal offers high-quality foot anchors designed for secure lifting of precast concrete elements. Our CE and ISO 9001 certified lifting pin anchors ensure a threefold safety factor, shorter production cycles, and prompt delivery.
HULK Metal has supplied tens of millions of Lifting Pin Anchors ranging from 1.3 tons to 32 tons to hundreds of buyers around the world. We have a full range of products and a complete supply chain to provide you with quality services. We provide quality assurance services. Please feel free to inquire.
HULK Metal manufactures lifting pin (dog bone) anchors with higher standards to meet demanding precast concrete lifting needs. We offer complete OEM solutions, from design and production to surface treatment and delivery, ensuring each anchor provides excellent strength, corrosion resistance, and compatibility with various lifting systems.
HULK Metal stands out as a leading manufacturer of lifting eye anchors, specializing in precast concrete lifting eye anchors that meet stringent CE certification with a 3 times safety factor.
Durable precast concrete double head lifting pin anchors from HULK Metal ensure secure lifting, higher safety factors, and corrosion resistance, meeting CE and ISO 9001 standards for demanding construction applications worldwide.
Durable, CE-certified spherical head lifting anchors from HULK Metal offer reliable load capacity and corrosion resistance, ensuring safe, efficient lifting for precast concrete projects with fast delivery and quality assurance.
Lifting Pins for Precast Concrete supplied by HULK Metal are CE certified. We can supply Lifting Pins that can pass the tensile test of 3 times the safety factor and strictly implement the IS0 9001 standard to provide high-quality services.
Short Wavy Tail Anchor is a compact, high-strength lifting solution for precast concrete elements. Its wavy rebar tail ensures even load distribution, prevents concrete cracking, and connects securely with threaded sockets or lifting inserts for safe, efficient operations.
Wavy tail anchor is made of high-performance steel pipe and rebar extrusion after bending. Its SWL range is between 0.5 and 8.0 tons. There are two thread standards, M and RD.
HULK Metal is a well-known supplier in China, providing high-quality and cost-effective Precast Lifting Thread Insert. With a complete supply chain and a professional team, we have provided flat end insert, solid rod insert, Tubular insert and others to global customers. We provide complete QA services. Looking Forward Your Inquiry.
HULK Metal is one of the high-quality Flat End Lifting Insert suppliers in China. In order to provide better services and products, we have integrated a complete supply chain. We strictly implement ISO 9001 management, and after years of development, we can now supply a full range of CE certified Flat End Lifting Insert.
Solid Rod Lifting Inserts supplied by HULK Metal have passed the CE certification. They can pass the tensile test with 3 times the safety factor. We strictly implement ISO 9001 standards to manage the entire supply chain to ensure that we can provide you with better Solid Rod Lifting Inserts and services.
Solid rod lifting and fixing sockets embed into precast concrete for secure threaded connections. Crafted from sturdy steel rods, one end features tapping for attachments, while the other includes a hole for rebar passage, enhancing structural integrity.
The combi lifting socket combines a lifting pin anchor and threaded socket, providing a strong, secure connection for lifting and handling precast concrete elements in construction and infrastructure projects.
HULK Metal's Flat End Fixing Socket with Cross Pin integrates a robust cross bar to improve load stability. Manufactured to CE and ISO 9001 standards, it ensures exceptional strength, corrosion resistance, and reliability for various precast concrete lifting applications.
Fixing sockets with bent ends, also known as fixing inserts with bent ends, is essential for anchoring in precast concrete. These sockets provide robust points for fixing elements, featuring a bent design that enhances grip and stability.
Tubular Lifting Insert supplied by HULK Metal has passed CE certification. Tubular Lifting Insert can pass the 3 times safety factor tensile test, and each batch of goods has a comprehensive test report.
HULK Metal can provide you with RD and M standard 12-45 thread, SWL 0.5 to 8.0tons of Long Wavy Lifting Insert. Its international general standard is CE, which needs to pass the 3 times safety factor tensile force test.
HULK Metal manufactures durable solid rod fixing sockets with cross pins and inserts with cross bars for precast concrete. CE and ISO 9001 certified, with high safety factors and quick delivery for bulk orders.
HULK Metal offers premium flat end lifting sockets designed for safe and efficient handling of precast concrete elements. Manufactured from high-strength alloy steel and certified to CE and ISO 9001 standards, these lifting inserts provide exceptional load capacity and corrosion resistance.
HULK Metal's tubular lifting sockets, made from high-grade steel or stainless steel, provide secure threaded connections in precast concrete. CE certified and precision manufactured, they ensure reliable lifting performance, excellent durability, and meet strict safety requirements for diverse construction applications.
The Long Wavy Lifting Socket combines a threaded steel pipe with a wavy-tail rebar to achieve deeper stress transfer in precast concrete. Designed for heavy-duty lifting, it meets CE and ISO 9001 standards and ensures a 4 times safety factor.
Q345/20#/Stainless steel/Others
Galvanized/Black
8~52
≥3
Flat plate lifting sockets embed into precast concrete for secure lifting points. The design includes a threaded end for clutch attachment and a broad base for load distribution, available in galvanized finishes for added durability.
Flat end fixing sockets, also known as flat end fixing inserts, anchor securely into precast concrete for fixing. Made from sturdy steel, they feature a flat end for easy installation and a threaded interior for bolts.
Plate spread anchors from HULK Metal feature a welded steel plate and head design, embedded in concrete for edge lifting. Available in various sizes with galvanized options, they support loads up to 10 tons safely.
Unilateral erection anchors serve as specialized lifting inserts for precast concrete, designed for one-sided loading during element erection. They integrate with ring clutches and recess formers, providing stable anchor points that enhance safety and reduce panel stress in construction applications.
HULK Metal supplies flat foot anchors crafted from premium alloys for secure lifting in precast concrete projects worldwide.
HULK Metal stands as a reliable erection anchor supplier in China, delivering high-standard products for precast concrete lifting. Our anchors ensure secure handling with superior strength and corrosion resistance, backed by comprehensive production support for bulk orders.
HULK Metal supplies CE and ISO9001 certified spread anchors with reliable safety factors, faster delivery, and professional support. Choose our spread anchors for superior quality and complete precast lifting solutions.
HULK Metal delivers high-quality two-hole anchors, designed for secure lifting of precast concrete elements. Certified with CE and ISO 9001, our anchors ensure safety, durability, and efficiency.
This page presents comprehensive information about precast concrete lifting clutches, including types, structure, materials, production processes, surface treatment options, applications, quality control standards, supplier selection guidance, and factory capabilities.
Ring Clutch supplied by HULK Metal is CE certified and can pass the tensile test with a safety factor of 5. We have integrated a complete supply chain and formed a complete team to provide better products and services.
HULK Metal's Precast Concrete Lifting Lugs, also known as Lifting Clutches or Lifting Eyes, are precision-engineered for heavy-duty lifting. Manufactured with high-strength materials, they ensure safety, durability, and efficiency in precast concrete lifting applications worldwide.
High-quality dog bone lifting eye with CE and ISO9001 certification. Strong, safe, and durable for precast concrete lifting. Shorter production cycle and faster delivery from trusted Chinese supplier HULK Metal.
HULK Metal supplies CE and ISO 9001 certified lifting clutch for pin anchor with 5 times safety factors, shorter production cycles, and complete after-sales support for global precast concrete projects.
Dog Bone Lifting Eye With Chain supplied by HULK Metal can pass the 5 times safety factor test and has been CE certified. We can provide 1.3 to 20 tons load groups.
Ring Clutch supplied by HULK Metal is CE certified and can pass the tensile test with a safety factor of 5. We have integrated a complete supply chain and formed a complete team to provide better products and services.
Precast Concrete Lifting Eyes supplied by HULK Metal has passed CE and ISO 9001 Certified and can passed 5 times safety factor testing. HULK Metal is an experienced manufacturer in China. Looking forward your inquire.
Q345/35CrMo/Others
Galvanized/Black/Powder-coat
1.3~32.0
≥5
Precision Casting
HULK Metal has a well-established supply chain to provide you with a full range of Clevis Slip Hooks, such as G43, G70, G80, CE marked, with latch or none, electro-galvanized, hot-dip galvanized or powder coated.
We have provided customers in more than 100 countries and regions around the world with Clevis Grab Hooks with strength standards such as G43 70 80 that can pass 2 to 4 Times Safety Factor detection.
HULK Metal is an experienced eye grab hooks supplier in China. We have integrated a complete supply chain and formed a professional team to provide better products and services. We can provide eye grab hooks with various specifications and surface treatments.
HULK Metal is an experienced supplier in China, providing Eye Slip Hooks in various materials, strengths, certifications, surface treatments and sizes. We have established a complete supply chain to ensure that raw materials, production and delivery are under control to provide higher quality and low-cost lifting hooks.
Anchor Recess is an essential component for positioning lifting anchors accurately in precast concrete elements. HULK Metal supplies Anchor Recess in multiple materials and configurations to match different lifting systems and production methods.
HULK Metal provides high-quality Rubber Recess Former for precast concrete lifting systems. They are used with Pin Anchor Recess Former and Spread Anchor Recess Former, ensuring precise recess shaping, shorter production cycles, and faster delivery.
HULK Metal supplies durable lifting pin anchor recess former for precast concrete elements, offering sizes from 1.3 to 32 tons with CE and ISO 9001 certification. Get shorter cycles and comprehensive support for bulk orders.
HULK Metal can provide a variety of precast magnetic formers. With higher quality and a more affordable price, it is your best choice.
The Spread Anchor Rubber Recess Former is made of durable rubber with a reinforced rear metal plate. It is designed for fixing spread anchors in precast concrete, ensuring accurate positioning, easy demolding, and reliable lifting performance.
As one of the excellent magnetic recess former suppliers in China, HULK Metal has advanced factories and perfect supply chain to provide you with high-quality products and services.
HULK Metal can provide CE-certified magnets for precast lifting and fixing inserts or sockets. Our factory has advanced machining equipment, laser cutting machines, and assembly lines, which can more efficiently complete CE-certified precast lifting fixing insert socket magnet with a higher pass rate.
HULK Metal's Electrical Box Fixed Magnets feature a durable rubber body combined with strong NdFeB magnets, ensuring reliable fixation of electrical boxes in precast concrete. These magnets are customizable in shape, size, and finish, providing flexibility for bulk orders.
Our Shuttering Magnets for Formwork are designed for precast concrete production, offering reusable and stable fixing solutions. They support different mold sizes and deliver better cost-efficiency for large-scale construction projects.
Our Embedded Corrugated Pipe Fixed Magnet combines premium steel housing with powerful magnets to ensure strong fixation during precast concrete production. It reduces installation time, improves efficiency, and provides consistent performance across different applications, helping customers achieve safer and more reliable concrete elements.
Steel Embed Plates are essential components used to create strong, reliable connection points within precast concrete structures. As an experienced manufacturer in China, HULK Metal supplies Concrete Embed Plates with stable quality, flexible customization, and consistent production capacity.
Cast In Channel T Bolts from HULK Metal are precision-forged using high-performance alloy steel or stainless steel. Surface treatments, including electro-galvanizing or hot-dip galvanizing, enhance rust resistance, making them reliable for precast concrete connections in construction and infrastructure projects.
HALFEN Anchor Channels from HULK Metal offer superior quality, CE and ISO certified standards, and five times safety factor. Our fast production and delivery, combined with professional after-sales support, make bulk purchasing simple and reliable.
Name Wire Loop Box Precast Concrete Accessories
Molds Full Range Moulds
Materials Wire Rope / Steel Plate / Customized
SL(mm)±10 60 / 80 / 100 / 120 /140
Our Cast in Channel offers superior strength, certified safety, and flexible application for precast construction. Manufactured with advanced processes, it guarantees durability, easier installation, and faster delivery. HULK Metal supports bulk buyers with full technical service and reliable after-sales support.
Our concrete screw bolts are designed for reliable installation without expansion anchors. Galvanized concrete screws provide superior corrosion resistance, making them ideal for indoor and outdoor use. HULK Metal offers diverse sizes, surface treatments, and customized solutions to match your needs.
Q345/20#/Stainless steel/Others
Galvanized
0.8~25.0
6~32
≥3
HULK Metal lifting loops are made from alloy or carbon steel, precision-threaded, and electro-galvanized for corrosion resistance. Designed for use with lifting sockets, they ensure safe, reliable handling of precast concrete components with a ≥4 safety factor.
As a top metalworking service provider, we want to let every customer experience a sense of security in purchasing, sales, etc., and better realize their value through continuously defining new standards for products and services.
Room 901, Intelligent Park A Building, No. 86 ChunYang Rd, Qingdao, China 266109
© 2025 HULK Metal All Rights Reserved. All Rights Reserved.
