Precise measurements are taken for socket length, diameter, flat-end hole, and cross-pin positioning to ensure all components match design specifications and maintain consistent performance standards.
The Flat End Fixing Socket with Cross Pin is engineered for dependable performance in precast concrete lifting. Designed with an integrated cross bar for enhanced load stability, it offers a high safety factor, shorter production cycles, and corrosion-resistant finishes. HULK Metal manufactures to CE and ISO 9001 standards, ensuring consistent quality and faster delivery. It's the ideal choice for demanding construction applications requiring precision and reliability.
1. Higher Standard Products
2. Shorter Production Cycle
3. More Corrosion Resistant
4. More Optional Delivery Methods
5. Comprehensive After Service
HULK Metal's Flat End Fixing Socket with Cross Pin integrates a robust cross bar to improve load stability. Manufactured to CE and ISO 9001 standards, it ensures exceptional strength, corrosion resistance, and reliability for various precast concrete lifting applications.
Our Flat End Fixing Socket with Cross Pin is available in multiple sizes and Safe Working Load (SWL) capacities to match diverse lifting needs. Each dimension is carefully engineered for optimal performance and verified through strict quality inspections. Whether for heavy or standard precast components, you can rely on precise specifications, consistent manufacturing tolerances, and a proven safety factor to deliver dependable results in every construction project.
| Name | Flat End Fixing Socket with Cross Pin | ||||||
| Drawings | |||||||
| Material | Stainless Steel / Q345 / Q235 / 20# / Customizable | ||||||
| Surface Treatment | Raw Color, Electro-galvanized, Hot-dip Galvanized | ||||||
| Safety Factor | ≥ 3 | ||||||
| Certification | CE / ISO 9001 | ||||||
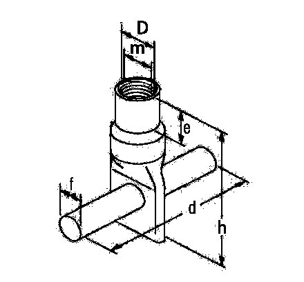
| SWL (tons) | CODE | THREAD(M) | L(mm) | d(mm) | h(mm) | e(mm) | f(mm) |
| 0.15 | FFSB-M06-035 | 6 | 35 | 50 | 35 | 6 | 6 |
| 0.20 | FFSB-M08-040 | 8 | 40 | 50 | 40 | 8 | 6 |
| 0.35 | FFSB-M10-050 | 10 | 50 | 50 | 50 | 10 | 6 |
| 0.50 | FFSB-M12-060 | 12 | 60 | 50 | 60 | 12 | 10 |
| 0.65 | FFSB-M16-070 | 16 | 70 | 100 | 70 | 16 | 10 |
| 1.00 | FFSB-M16-100 | 16 | 100 | 100 | 100 | 16 | 12 |
| 1.25 | FFSB-M20-100 | 20 | 100 | 100 | 100 | 20 | 13 |
| 1.80 | FFSB-M24-120 | 24 | 120 | 100 | 120 | 24 | 17 |
| 2.75 | FFSB-M30-150 | 30 | 150 | 100 | 150 | 30 | 22 |
The Flat End Fixing Socket with Cross Pin is designed for high-strength, secure lifting in precast concrete construction. Its embedded cross bar enhances load distribution and stability. Manufactured from quality steel and produced under CE and ISO 9001 standards, it offers superior safety, corrosion resistance, and consistent performance. Suitable for a wide range of structural components, it delivers reliability in both heavy-duty and standard lifting applications.
A Flat End Fixing Socket with Cross Pin is a precision-engineered lifting insert used in precast concrete components. It features a flat-ended socket with a drilled hole, into which a high-performance steel cross bar is fixed. This cross bar is installed horizontally to the load direction, ensuring better force distribution and preventing socket rotation during lifting. The design minimizes stress points and increases the structural integrity of the lifting connection. Fabricated from high-strength carbon or stainless steel, it offers excellent tensile properties and resistance to wear and corrosion. This insert is commonly embedded in concrete panels, columns, beams, and other heavy precast elements. The integrated cross pin improves anchorage, ensuring that the socket remains securely fixed under load. All units are produced in compliance with CE and ISO 9001 requirements, ensuring exceptional durability, performance consistency, and safety for demanding construction projects.
High-strength carbon steel or stainless steel, chosen for tensile strength, corrosion resistance, and durability.
It is a steel bar added to the end hole of flat-end fixing sockets. Flat-ended socket body with threaded interior; drilled hole at the flat end; embedded cross bar aligned perpendicular to the lifting direction.
CE certified and produced under ISO 9001 quality management standards.
When embedded in precast concrete, the Flat End Fixing Socket with Cross Pin transfers lifting forces from the threaded connection through the socket body to the cross bar. The bar engages the surrounding concrete, spreading the load and reducing concentrated stress. This horizontal positioning prevents pull-out and rotation, ensuring a stable lift. The threaded interior allows easy attachment to lifting clutches or accessories, making it compatible with various handling methods for safe, efficient transport of precast components.
The Flat End Fixing Socket with Cross Pin is widely used in lifting and handling precast concrete elements such as wall panels, beams, columns, and floor slabs. It is ideal for both vertical and angled lifts, providing secure anchorage in structural components of varying shapes and sizes. This insert is suited for construction projects that demand high safety factors, reliable load performance, and long-term durability, making it a preferred choice in industrial, commercial, and infrastructure precast manufacturing.
Enhanced load stability with integrated cross bar
Higher safety factor for demanding lifts
Corrosion-resistant surface treatments available
Shorter production cycle with precise manufacturing
Compatible with various lifting systems
CE and ISO 9001 certified for quality assurance
Our team reviews your drawings and specifications, assessing load requirements, environmental conditions, and production schedules to create a tailored manufacturing plan that ensures optimal performance and efficiency for your Flat End Fixing Socket with Cross Pin order.
We source certified high-strength steel from trusted suppliers. Incoming materials are tested for tensile strength, chemical composition, and dimensional accuracy to ensure they meet or exceed CE and ISO 9001 quality requirements before entering the production process.
Steel bars are cut into precise lengths to match the required socket size, ensuring uniformity and accuracy for consistent performance across all produced units.
One end of each blank is pressed flat under controlled conditions to create a uniform surface, preparing it for accurate drilling and cross bar installation.
A precision hole is drilled into the flattened section to exact tolerances, ensuring a secure fit and alignment for the cross bar insertion.
The high-strength cross bar is inserted and firmly punched into the drilled hole, ensuring stable positioning and maximum load transfer capability.
Dimensional and visual inspections are carried out to confirm accuracy, surface finish, and correct positioning of the cross bar before further processing.
The opposite end of the socket is threaded to the specified size, ensuring compatibility with lifting clutches and accessories.
A second round of quality control verifies thread accuracy, cross bar integrity, and dimensional conformity to prevent any production defects.
Finished sockets are packed with protective materials, labeled, and prepared for shipment. Orders are dispatched promptly to meet agreed delivery timelines.
Our service team provides technical support, order tracking, and problem-solving assistance, ensuring your satisfaction throughout the post-purchase process.
A: High-strength carbon steel or stainless steel, selected for superior tensile strength and corrosion resistance in demanding precast applications.
A: Yes, the cross pin design provides stability and prevents rotation, making it suitable for vertical and angled lifting operations.
A: Options include electro-galvanizing, hot-dip galvanizing, and additional rust-proof sealing for enhanced durability and corrosion resistance.
A: All units are CE certified and manufactured under the ISO 9001 quality management system for consistent performance.
A: Each socket is securely packaged with protective materials to prevent damage during storage and transportation.
HULK Metal ensures that every Flat End Fixing Socket with Cross Pin meets the highest quality standards. Our dedicated inspection team monitors each production stage, from raw material testing to final packaging. Dimensional accuracy, tensile strength, and surface integrity are rigorously checked. Pre-shipment inspections verify compliance with CE and ISO 9001 requirements. Quantity verification and visual checks guarantee that every order is complete, safe, and ready for reliable use in precast concrete lifting applications.
Precise measurements are taken for socket length, diameter, flat-end hole, and cross-pin positioning to ensure all components match design specifications and maintain consistent performance standards.
Each socket undergoes tensile testing to confirm it can withstand forces above the safe working load, ensuring maximum safety and reliability in lifting operations.
Before delivery, all products are visually inspected, checked for defects, and verified for proper surface treatment, thread integrity, and embedded crossbarplacement.
Orders are carefully counted and cross-checked against the packing list to ensure accuracy, preventing shortages or over-shipments and guaranteeing smooth project planning for clients.
HULK Metal's factories are fully equipped to produce Flat End Fixing Sockets with Cross Pin with precision and efficiency. Our production workflow combines advanced machinery, experienced operators, and strict quality standards. From raw material preparation to packaging, every step is closely monitored. Dedicated QC centers and partnered surface treatment factories ensure the sockets meet CE and ISO 9001 requirements. This integrated setup guarantees reliable, high-quality products and consistent on-time delivery for all precast concrete applications.
Our production factory specializes in fabricating Flat End Fixing Sockets with Cross Pin using advanced cutting, flattening, drilling, and punching machinery. Skilled technicians follow precise manufacturing procedures, ensuring accurate dimensions and high-strength performance. Each production line is designed for efficiency, minimizing lead times while maintaining rigorous quality standards. Continuous monitoring and in-process checks guarantee consistency across batches. The factory's integrated workflow—from raw material preparation to threading and assembly—allows HULK Metal to deliver high-quality sockets tailored to the exact requirements of precast concrete lifting projects.
HULK Metal's dedicated QC center conducts comprehensive inspections at every stage of production. Dimensional checks, tensile testing, cross-pin verification, and thread accuracy inspections ensure each socket meets CE and ISO 9001 standards. Pre-shipment inspections confirm surface treatment, visual integrity, and packaging accuracy. The QC team uses calibrated instruments and standardized procedures to maintain consistency. Their systematic approach reduces errors, ensures reliability, and provides clients with confidence that every Flat End Fixing Socket with Cross Pin performs safely and consistently under all lifting conditions.
Our partnered surface treatment factories provide electro-galvanizing, hot-dip galvanizing, and rust-proof sealing for Flat End Fixing Sockets with Cross Pin. High-capacity, standardized equipment ensures even coating, superior corrosion resistance, and long-term durability. Advanced process controls and experienced operators maintain tight tolerances and consistent finish quality. This treatment enhances performance in harsh environments, extends product life, and simplifies storage and handling. By collaborating with certified surface treatment factories, HULK Metal guarantees sockets meet international standards while maintaining efficient production timelines.
Choosing HULK Metal's Flat End Fixing Socket with Cross Pin ensures superior safety, quality, and efficiency. Our production team follows ISO 9001 procedures, while the quality inspection team conducts multi-directional tensile and dimensional tests. Shorter production cycles, advanced surface treatments, and faster delivery optimize your project timeline. Free warehousing, flexible shipment planning, and a dedicated service team provide end-to-end support. You receive reliable, CE-certified lifting sockets backed by comprehensive after-sales service.
You will get the flat fixing socket with cross pin with higher standard certification. HULK can provide you with strictly testing services and higher standard production services. We have advanced production equipment and an experienced production team that can produce in strict accordance with ISO9001. Advanced testing equipment and professional quality inspection team follow up the production of orders throughout the process and control the quality of products.
You will get the flat fixing socket with cross pin with a shorter production cycle. HULK can arrange the production plan according to the drawings you provide and the production requirements put forward you give and combined with our production experience. An orderly production process can effectively avoid the defective rate, secondary processing, rework, and other things that delay the construction period. We will also provide you with various support to help you grasp the production dynamics of the order.
You will get the flat fixing socket with cross pin with more corrosion resistance. HULK will evaluate each surface treatment factory to make sure they can provide the services to meet your requirements. Our quality inspection team has rich experience in hot-dip galvanizing and electro-galvanizing and can provide you with a professional inspection. Whether you have a surface treatment or not, we will rust-proof the product for your convenience in storage and use.
You can get the flat fixing socket with cross pin with a shorter delivery cycle. You can enjoy the free warehousing service and freight consulting service provided by HULK. At HULK, you will enjoy more preferential policies when you place an order in large quantities without worrying about inventory. You can put the finished goods in HULK and ship them slowly according to the situation of your stock. We also plan more cost-effective freight routes for you free of charge.
You can enjoy the comprehensive after-service when buying HULK products. At HULK, you will have an after-sales service team to escort your purchases. We will form a team including production, procurement, technology, quality inspection, design, finance, and other personnel to solve all problems for you. You can purchase the products you want faster at HULK. We also provide warranty service for each batch of orders.
Explore other resources related to flat end fixing socket with cross pin to understand their applications, installation techniques, and performance advantages. These articles showcase product variations, technical guides, and case studies that highlight the efficiency and reliability of HULK Metal lifting solutions. By referencing these materials, clients can compare options, evaluate specifications, and select the most suitable inserts for precast concrete projects, ensuring safer, faster, and more reliable lifting operations in construction applications.
HULK Metal offers a wide range of precast concrete accessories that complement the Flat End Fixing Socket with Cross Pin. These include lifting pin anchors, cast-in loops, combi lifting sockets, foot anchors, and wavy tail anchors. All products are CE certified and manufactured under ISO 9001 standards. Designed for durability, high safety factors, and corrosion resistance, these accessories provide reliable solutions for lifting, handling, and assembling precast concrete elements in industrial, commercial, and infrastructure projects worldwide.
Precast concrete lifting anchors are accessories designed specifically for the lifting of precast concrete elements. It includes lifting pin anchors (as know as dog bone anchors, spherical head lifting anchors), double head lifting anchors, utility anchors, etc. It needs to be embedded in precast concrete elements, fixed with a recess former, and a recess is created in the fixed position to accommodate the lifting clutch. They can be used in many elements such as: concrete trenches, culverts, stairs, pipes, panels, etc.
Lifting & Fixing Sockets, also commonly called Lifting & Fixing Inserts, are accessories designed for the lifting and anchoring of precast concrete elements. They are pre-buried in specific locations in the concrete to provide lifting points or connection holes for lifting or connecting other elements. With the development of the quick-install concrete industry, many types have been derived. It generally consists of two parts: a sleeve part and a stress transfer part. Depending on the different stress transfer parts, dozens of products can be derived.
Precast concrete spread anchors are made of high-performance alloy steel plates and are designed to be embedded in precast concrete elements to provide accessories for lifting points. Its international standard is CE certification. It needs to undergo strict tensile performance sampling inspection—using a tensile force of 3 times or even higher safety factor until it is broken. There are many types of it, and when using it, you need to consider the shape, thickness, lifting point location, weight and other factors of the precast concrete elements.
HULK Metal has been engaged in the production and sales of precast concrete lifting clutch since 2006, and has accumulated rich experience. We have integrated a complete supply chain and formed a professional team to provide better products and services. Our lifting clutch has passed the CE certification and can pass the destructive test with a 5-fold safety factor. Here you can learn about our product range, production capacity, and service capabilities.
HULK Metal offers a wide range of G60, G70, and G80 strength lifting hooks with a well-established supply chain. We have an advanced forging factory and integrated assembly line production. The quality of lifting hooks will be more guaranteed, and we can provide electro-galvanizing, hot-dip galvanizing, and powder coating—three surface treatments. We strictly implement ISO 9001 standard management to provide you with higher quality products and services. You can contact us at any time to visit the factory to understand our production capacity and service capabilities, and then hand over the order to us after you are satisfied.
Recess formers are used to place lifting anchors, spread anchors, and other accessories that need to be pre-buried in precast concrete elements. The recess they leave is for the lifting clutch to connect with lifting anchors or spread anchors. We offer a full range of standard recess formers and OEM services for special requirements.
Precast concrete magnets are one of HULK Metal's main products. They are recognized by customers for their high quality and reasonable price. Precast concrete magnets use high-performance and durable NdFeB alloy magnets. Advanced technology effectively improves production efficiency and reduces costs while ensuring its quality. We provide quality assurance services. You can purchase them with confidence.
HULK Metal also specializes in OEM services for cast-in-channel, T-bolts, wire rope boxes, stone support brackets, and other accessories. Cast in channel can be made of cold-rolled steel, hot-rolled steel, and stainless steel. T bolts are made of carbon steel, alloy steel, and stainless steel. Our wire rope box only has one wire rope, and stone support brackets only accept OEM services. We will develop a perfect solution according to your requirements to ensure that the delivery time, quality, and price can meet your requirements.
10.0 Ton Lifting Eye Anchors are designed for secure lifting of heavy precast concrete components using compatible lifting clutches. HULK Metal combines forging, machining, and strict inspection to ensure consistent performance.
5.0 Ton Lifting Eye Anchors from HULK Metal are engineered for safe and efficient precast concrete lifting applications. Manufactured under ISO 9001 management and CE certification standards, they ensure reliable performance with a safety factor of ≥3.
2.5 Ton Lifting Eye Anchors from HULK Metal are designed for safe and efficient precast concrete lifting applications. Produced under ISO 9001 management with CE certification, they ensure consistent load performance and reliable embedding strength.
1.3 Ton Lifting Eye Anchors are designed for safe and efficient lifting of precast concrete elements. Manufactured with high-strength materials and CE certification, these anchors undergo rigorous testing to ensure durability and reliability.
HULK Metal provides CE-certified 32.0 Ton Lifting Anchors, manufactured with high-strength alloy steel and tested with a 3-times safety factor. This page details their structure, working principle, surface treatments, key parameters, applications, cost calculation, quality control, and supplier advantages.
HULK Metal’s 20.0 Ton Lifting Anchors provide safe, reliable, and CE-certified lifting solutions for precast concrete projects. Manufactured with high-performance alloy steel, precise forging, and strict quality control, these anchors ensure optimal load-bearing capacity and durability.
15.0 Ton Lifting Anchors are designed for heavy precast concrete elements, offering reliable lifting performance with consistent safety. HULK Metal combines forging, machining, and strict inspection to ensure stable quality.
This page presents a complete overview of 10.0-ton lifting anchors, including structure, working principle, surface treatment, key parameters, applications, manufacturing process, and cost factors.
HULK Metal’s 7.5-ton lifting anchors are designed for high safety and consistent performance in precast concrete lifting. Manufactured with premium alloy steel and tested with a three-times safety factor, they ensure durability and reliability.
HULK Metal manufactures CE-certified 5.0-ton lifting anchors with ISO 9001 management, ensuring high safety, durability, and precise dimensions. From forging to surface treatment and rigorous quality inspection, every anchor meets strict standards.
HULK Metal’s 4.0 Ton Lifting Anchors combine superior strength, precision manufacturing, and CE certification to ensure safe handling of precast concrete elements. With integrated production from forging to surface treatment, strict ISO 9001 quality control, and comprehensive technical support, clients benefit from faster delivery, cost efficiency, and reliable performance.
This page presents a complete overview of 2.5 ton lifting anchors, including structure, working principles, applications, and key parameters. It also explains production processes, quality control methods, and cost factors.
HULK Metal’s 1.3-ton lifting anchors provide safe, reliable, and CE-certified lifting solutions for precast concrete projects. Manufactured with high-performance alloy steel, precise forging, and strict quality control, these anchors ensure optimal load-bearing capacity and durability.
HULK Metal offers high-quality foot anchors designed for secure lifting of precast concrete elements. Our CE and ISO 9001 certified lifting pin anchors ensure a threefold safety factor, shorter production cycles, and prompt delivery.
HULK Metal has supplied tens of millions of Lifting Pin Anchors ranging from 1.3 tons to 32 tons to hundreds of buyers around the world. We have a full range of products and a complete supply chain to provide you with quality services. We provide quality assurance services. Please feel free to inquire.
HULK Metal manufactures lifting pin (dog bone) anchors with higher standards to meet demanding precast concrete lifting needs. We offer complete OEM solutions, from design and production to surface treatment and delivery, ensuring each anchor provides excellent strength, corrosion resistance, and compatibility with various lifting systems.
HULK Metal stands out as a leading manufacturer of lifting eye anchors, specializing in precast concrete lifting eye anchors that meet stringent CE certification with a 3 times safety factor.
Durable precast concrete double head lifting pin anchors from HULK Metal ensure secure lifting, higher safety factors, and corrosion resistance, meeting CE and ISO 9001 standards for demanding construction applications worldwide.
Durable, CE-certified spherical head lifting anchors from HULK Metal offer reliable load capacity and corrosion resistance, ensuring safe, efficient lifting for precast concrete projects with fast delivery and quality assurance.
Lifting Pins for Precast Concrete supplied by HULK Metal are CE certified. We can supply Lifting Pins that can pass the tensile test of 3 times the safety factor and strictly implement the IS0 9001 standard to provide high-quality services.
Short Wavy Tail Anchor is a compact, high-strength lifting solution for precast concrete elements. Its wavy rebar tail ensures even load distribution, prevents concrete cracking, and connects securely with threaded sockets or lifting inserts for safe, efficient operations.
Wavy tail anchor is made of high-performance steel pipe and rebar extrusion after bending. Its SWL range is between 0.5 and 8.0 tons. There are two thread standards, M and RD.
HULK Metal is a well-known supplier in China, providing high-quality and cost-effective Precast Lifting Thread Insert. With a complete supply chain and a professional team, we have provided flat end insert, solid rod insert, Tubular insert and others to global customers. We provide complete QA services. Looking Forward Your Inquiry.
HULK Metal is one of the high-quality Flat End Lifting Insert suppliers in China. In order to provide better services and products, we have integrated a complete supply chain. We strictly implement ISO 9001 management, and after years of development, we can now supply a full range of CE certified Flat End Lifting Insert.
Solid Rod Lifting Inserts supplied by HULK Metal have passed the CE certification. They can pass the tensile test with 3 times the safety factor. We strictly implement ISO 9001 standards to manage the entire supply chain to ensure that we can provide you with better Solid Rod Lifting Inserts and services.
Solid rod lifting and fixing sockets embed into precast concrete for secure threaded connections. Crafted from sturdy steel rods, one end features tapping for attachments, while the other includes a hole for rebar passage, enhancing structural integrity.
The combi lifting socket combines a lifting pin anchor and threaded socket, providing a strong, secure connection for lifting and handling precast concrete elements in construction and infrastructure projects.
HULK Metal's Flat End Fixing Socket with Cross Pin integrates a robust cross bar to improve load stability. Manufactured to CE and ISO 9001 standards, it ensures exceptional strength, corrosion resistance, and reliability for various precast concrete lifting applications.
Fixing sockets with bent ends, also known as fixing inserts with bent ends, is essential for anchoring in precast concrete. These sockets provide robust points for fixing elements, featuring a bent design that enhances grip and stability.
Tubular Lifting Insert supplied by HULK Metal has passed CE certification. Tubular Lifting Insert can pass the 3 times safety factor tensile test, and each batch of goods has a comprehensive test report.
HULK Metal can provide you with RD and M standard 12-45 thread, SWL 0.5 to 8.0tons of Long Wavy Lifting Insert. Its international general standard is CE, which needs to pass the 3 times safety factor tensile force test.
HULK Metal manufactures durable solid rod fixing sockets with cross pins and inserts with cross bars for precast concrete. CE and ISO 9001 certified, with high safety factors and quick delivery for bulk orders.
HULK Metal offers premium flat end lifting sockets designed for safe and efficient handling of precast concrete elements. Manufactured from high-strength alloy steel and certified to CE and ISO 9001 standards, these lifting inserts provide exceptional load capacity and corrosion resistance.
HULK Metal's tubular lifting sockets, made from high-grade steel or stainless steel, provide secure threaded connections in precast concrete. CE certified and precision manufactured, they ensure reliable lifting performance, excellent durability, and meet strict safety requirements for diverse construction applications.
The Long Wavy Lifting Socket combines a threaded steel pipe with a wavy-tail rebar to achieve deeper stress transfer in precast concrete. Designed for heavy-duty lifting, it meets CE and ISO 9001 standards and ensures a 4 times safety factor.
Q345/20#/Stainless steel/Others
Galvanized/Black
8~52
≥3
Flat plate lifting sockets embed into precast concrete for secure lifting points. The design includes a threaded end for clutch attachment and a broad base for load distribution, available in galvanized finishes for added durability.
Flat end fixing sockets, also known as flat end fixing inserts, anchor securely into precast concrete for fixing. Made from sturdy steel, they feature a flat end for easy installation and a threaded interior for bolts.
Plate spread anchors from HULK Metal feature a welded steel plate and head design, embedded in concrete for edge lifting. Available in various sizes with galvanized options, they support loads up to 10 tons safely.
Unilateral erection anchors serve as specialized lifting inserts for precast concrete, designed for one-sided loading during element erection. They integrate with ring clutches and recess formers, providing stable anchor points that enhance safety and reduce panel stress in construction applications.
HULK Metal supplies flat foot anchors crafted from premium alloys for secure lifting in precast concrete projects worldwide.
HULK Metal stands as a reliable erection anchor supplier in China, delivering high-standard products for precast concrete lifting. Our anchors ensure secure handling with superior strength and corrosion resistance, backed by comprehensive production support for bulk orders.
HULK Metal supplies CE and ISO9001 certified spread anchors with reliable safety factors, faster delivery, and professional support. Choose our spread anchors for superior quality and complete precast lifting solutions.
HULK Metal delivers high-quality two-hole anchors, designed for secure lifting of precast concrete elements. Certified with CE and ISO 9001, our anchors ensure safety, durability, and efficiency.
This page presents comprehensive information about precast concrete lifting clutches, including types, structure, materials, production processes, surface treatment options, applications, quality control standards, supplier selection guidance, and factory capabilities.
Ring Clutch supplied by HULK Metal is CE certified and can pass the tensile test with a safety factor of 5. We have integrated a complete supply chain and formed a complete team to provide better products and services.
HULK Metal's Precast Concrete Lifting Lugs, also known as Lifting Clutches or Lifting Eyes, are precision-engineered for heavy-duty lifting. Manufactured with high-strength materials, they ensure safety, durability, and efficiency in precast concrete lifting applications worldwide.
High-quality dog bone lifting eye with CE and ISO9001 certification. Strong, safe, and durable for precast concrete lifting. Shorter production cycle and faster delivery from trusted Chinese supplier HULK Metal.
HULK Metal supplies CE and ISO 9001 certified lifting clutch for pin anchor with 5 times safety factors, shorter production cycles, and complete after-sales support for global precast concrete projects.
Dog Bone Lifting Eye With Chain supplied by HULK Metal can pass the 5 times safety factor test and has been CE certified. We can provide 1.3 to 20 tons load groups.
Ring Clutch supplied by HULK Metal is CE certified and can pass the tensile test with a safety factor of 5. We have integrated a complete supply chain and formed a complete team to provide better products and services.
Precast Concrete Lifting Eyes supplied by HULK Metal has passed CE and ISO 9001 Certified and can passed 5 times safety factor testing. HULK Metal is an experienced manufacturer in China. Looking forward your inquire.
Q345/35CrMo/Others
Galvanized/Black/Powder-coat
1.3~32.0
≥5
Precision Casting
HULK Metal has a well-established supply chain to provide you with a full range of Clevis Slip Hooks, such as G43, G70, G80, CE marked, with latch or none, electro-galvanized, hot-dip galvanized or powder coated.
We have provided customers in more than 100 countries and regions around the world with Clevis Grab Hooks with strength standards such as G43 70 80 that can pass 2 to 4 Times Safety Factor detection.
HULK Metal is an experienced eye grab hooks supplier in China. We have integrated a complete supply chain and formed a professional team to provide better products and services. We can provide eye grab hooks with various specifications and surface treatments.
HULK Metal is an experienced supplier in China, providing Eye Slip Hooks in various materials, strengths, certifications, surface treatments and sizes. We have established a complete supply chain to ensure that raw materials, production and delivery are under control to provide higher quality and low-cost lifting hooks.
Anchor Recess is an essential component for positioning lifting anchors accurately in precast concrete elements. HULK Metal supplies Anchor Recess in multiple materials and configurations to match different lifting systems and production methods.
HULK Metal provides high-quality Rubber Recess Former for precast concrete lifting systems. They are used with Pin Anchor Recess Former and Spread Anchor Recess Former, ensuring precise recess shaping, shorter production cycles, and faster delivery.
HULK Metal supplies durable lifting pin anchor recess former for precast concrete elements, offering sizes from 1.3 to 32 tons with CE and ISO 9001 certification. Get shorter cycles and comprehensive support for bulk orders.
HULK Metal can provide a variety of precast magnetic formers. With higher quality and a more affordable price, it is your best choice.
The Spread Anchor Rubber Recess Former is made of durable rubber with a reinforced rear metal plate. It is designed for fixing spread anchors in precast concrete, ensuring accurate positioning, easy demolding, and reliable lifting performance.
As one of the excellent magnetic recess former suppliers in China, HULK Metal has advanced factories and perfect supply chain to provide you with high-quality products and services.
HULK Metal can provide CE-certified magnets for precast lifting and fixing inserts or sockets. Our factory has advanced machining equipment, laser cutting machines, and assembly lines, which can more efficiently complete CE-certified precast lifting fixing insert socket magnet with a higher pass rate.
HULK Metal's Electrical Box Fixed Magnets feature a durable rubber body combined with strong NdFeB magnets, ensuring reliable fixation of electrical boxes in precast concrete. These magnets are customizable in shape, size, and finish, providing flexibility for bulk orders.
Our Shuttering Magnets for Formwork are designed for precast concrete production, offering reusable and stable fixing solutions. They support different mold sizes and deliver better cost-efficiency for large-scale construction projects.
Our Embedded Corrugated Pipe Fixed Magnet combines premium steel housing with powerful magnets to ensure strong fixation during precast concrete production. It reduces installation time, improves efficiency, and provides consistent performance across different applications, helping customers achieve safer and more reliable concrete elements.
Steel Embed Plates are essential components used to create strong, reliable connection points within precast concrete structures. As an experienced manufacturer in China, HULK Metal supplies Concrete Embed Plates with stable quality, flexible customization, and consistent production capacity.
Cast In Channel T Bolts from HULK Metal are precision-forged using high-performance alloy steel or stainless steel. Surface treatments, including electro-galvanizing or hot-dip galvanizing, enhance rust resistance, making them reliable for precast concrete connections in construction and infrastructure projects.
HALFEN Anchor Channels from HULK Metal offer superior quality, CE and ISO certified standards, and five times safety factor. Our fast production and delivery, combined with professional after-sales support, make bulk purchasing simple and reliable.
Name Wire Loop Box Precast Concrete Accessories
Molds Full Range Moulds
Materials Wire Rope / Steel Plate / Customized
SL(mm)±10 60 / 80 / 100 / 120 /140
Our Cast in Channel offers superior strength, certified safety, and flexible application for precast construction. Manufactured with advanced processes, it guarantees durability, easier installation, and faster delivery. HULK Metal supports bulk buyers with full technical service and reliable after-sales support.
Our concrete screw bolts are designed for reliable installation without expansion anchors. Galvanized concrete screws provide superior corrosion resistance, making them ideal for indoor and outdoor use. HULK Metal offers diverse sizes, surface treatments, and customized solutions to match your needs.
Q345/20#/Stainless steel/Others
Galvanized
0.8~25.0
6~32
≥3
HULK Metal lifting loops are made from alloy or carbon steel, precision-threaded, and electro-galvanized for corrosion resistance. Designed for use with lifting sockets, they ensure safe, reliable handling of precast concrete components with a ≥4 safety factor.
As a top metalworking service provider, we want to let every customer experience a sense of security in purchasing, sales, etc., and better realize their value through continuously defining new standards for products and services.
Room 901, Intelligent Park A Building, No. 86 ChunYang Rd, Qingdao, China 266109
© 2025 HULK Metal All Rights Reserved. All Rights Reserved.
